铂爵旅拍陷“跑路”风波 李佳琦承诺为直播间用户退款
2025年07月25日 15:34
来源:
信网
信网7月25日讯 据报道,头部旅拍品牌“铂爵旅拍”近期被曝“失联跑路,拖欠消费者费用”。对此,7月24日晚,李佳琦在直播中回应,称将为在直播间下单“铂爵旅拍”的相关用户先行退款。
此前,7月19日,铂爵旅拍发布关于近期市场传闻的郑重声明,其中提到:为了优化经营模式,减负前行,我司决策缩减旅拍业务,关停部分亏损门店,并进行组织优化。我司旅拍、跟拍、写真等业务板块平稳运营。
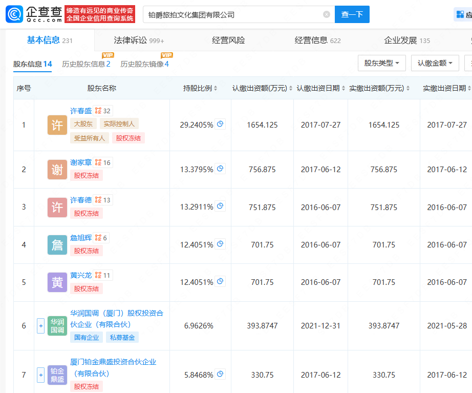
企查查显示,当前铂爵旅拍及其多位股东因股权转让纠纷已被起诉。该案件计划将于2025年9月2日,在福建省厦门市湖里区人民法院开庭审理。(信网记者)

(来源:网络截图)

(来源:企查查)

(来源:铂爵旅拍)
(责任编辑:华青剑)
中国经济网声明:股市资讯来源于合作媒体及机构,属作者个人观点,仅供投资者参考,并不构成投资建议。投资者据此操作,风险自担。
手机看中经
经济日报微信
中经网微信









